DIN 3852-3은 O 형 치수로 밀봉 된 압축 커플 링, 밸브 및 나사 플러그와 함께 사용하기 위해 F 형 스터드 끝 및 미터 식 미세 피치 나사산이있는 W 형 탭 구멍입니다.
ISO 6149-1은 유압 유체 동력 및 일반 사용을위한 연결입니다. - ISO 261 미터 나사 및 O 링 실링이있는 포트 및 스터드 엔드 - 1 부 : O 링 실을 절단 한 하우징이있는 포트.


DIN 3852-3은 ISO 6149-1, ISO 6149-2, ISO 6149-3에서 채택되었습니다.

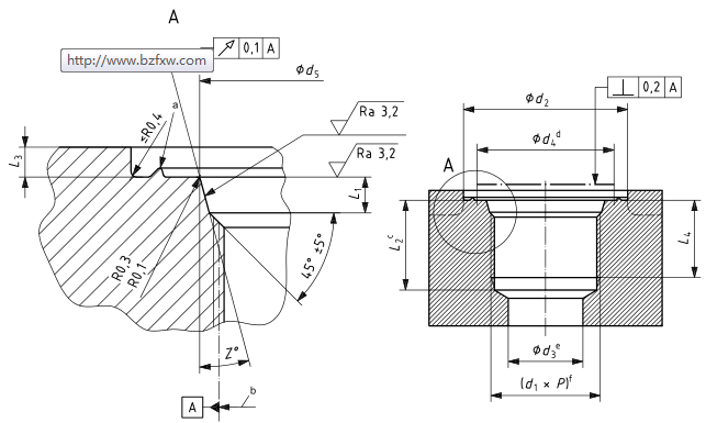
스레드 광고 2 (폭이 좁은) d 3 bd 4 d 5 L 1 L 2 c L 3 L 4 Z °
M8x1 17 14 3 12,5 9,1 1,6 11,5 1 10 12
M10x1 20 16 4,5 14,5 11,1 1,6 11,5 1 10 12
M12x1,5 23 19 6 17,5 13,8 2,4 14 1,5 11,5 15
M14x1,5 25 21 7,5 19,5 15,8 2,4 14 1,5 11,5 15
M16x1,5 28 24 9 22,5 17,8 2,4 15,5 1,5 13 15
M18x1,5 30 26 11 24,5 19,8 2,4 17 2 14,5 15
M20x1,5 33 29 - 27,5 21,8 2,4 - 2 14,5 15
M22x1,5 33 29 14 27,5 23,8 2,4 2,4 18,5 15,5
M27x2 40 34 18 32,5 29,4 3,1 22 2 19 15
M30x2 44 38 21 36,5 32,4 3,1 22 2 19 15
M33x2 49 43 23 41,5 35,4 3,1 22 2,5 19 15
M42x2 58 52 30 50,5 44,4 3,1 22,5 2,5 19,5 15
M48x2 63 57 36 55,5 50,4 3,1 25 2,5 22 15
M60x2 74 67 44 65,5 62,4 3,1 27,5 2,5 24,5 15






